Product image for RAB BRAD4 POLE ADPT 2 3/8" TENON to
Image thumbnail 0
Image thumbnail 1
Image thumbnail 2

Email

RAB BRAD4 POLE ADPT 2 3/8" TENON to

Manufacturer: RAB Lighting | Catalog # BRAD4 | North Coast Part # 1856759

$336.31/ea
ea
Log in or register to view your price, purchase history, and more!
Next Day Delivery not avail / contact sales for lead times & return policy
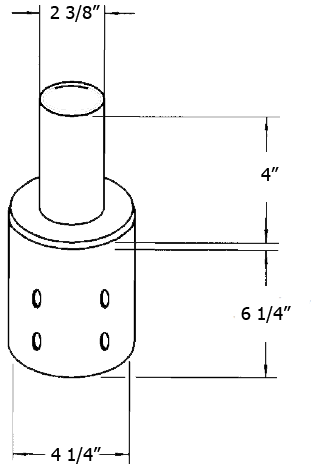
Poles Pole Adaptor For 2 3/8 Inches Tenon To 4 Inches Round Pole

Technical Information

Applications
OUTDOOR
Total Harmonic Distortion
22.1% At 347V
Type
ACCESSORY POLE

Manufacturer Information

Brand
Rab Design Lighting

General Product Info

12-Digit UPC
019813731797
Color
Glavanized
Finish
Bronze
GTiN
00019813156712
Product UPC
01981373179
Weight
9 lb
Features
  • Description
  • Buy American Act Compliance

Compare