Product image for Red Dot DALL-8-CG 3 Inch Die-Cast Aluminum Rigid/IMC Conduit Body Cover and Gasket
Image thumbnail 0
Image thumbnail 1
Image thumbnail 2

Email

Red Dot DALL-8-CG 3 Inch Die-Cast Aluminum Rigid/IMC Conduit Body Cover and Gasket

Manufacturer: Thomas & Betts / Red Dot | Catalog # DALL-8-CG | North Coast Part # 423482

$44,348.21 /c (100 ea)
ea
Log in or register to view your price, purchase history, and more!
Next Day Delivery not avail / contact sales for lead times & return policy
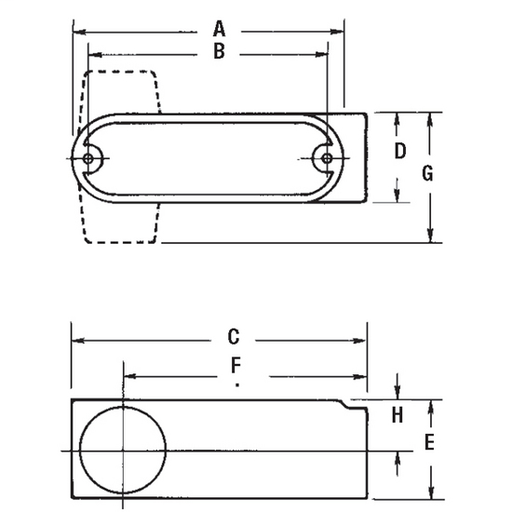
3 inch Threaded D-Pak Die Cast Aluminum Conduit Body-Left Side Opening, Cover & Gasket. For use with Rigid/IMC Conduit.

Technical Information

Applications
For Use with Rigid/IMC Conduit
Hub Size
3 in
Material
Aluminum
Size
3 in
Standard
UL E28688
Trade Size
3 Inch
Type
Conduit Body - Series A - Rigid/IMC

Manufacturer Information

Brand
Red Dot

General Product Info

12-Digit UPC
042269004504
GTiN
00042269004504
Product UPC
04226900450

Compare